24/03/2025

Witness Signature for Legal Documents: Guide & Tips
23/03/2025

Ace Your Interview: Schedule & Prepare Now
21/03/2025

Investing in Cemeteries: Profit Potential & Risks
18/03/2025

Pawn Your PlayStation 5: Get Top Cash Today
17/03/2025

Appointment Confirmation: Avoid These Consequences
13/03/2025

Agency vs Company: Key Differences Explained
26/02/2025

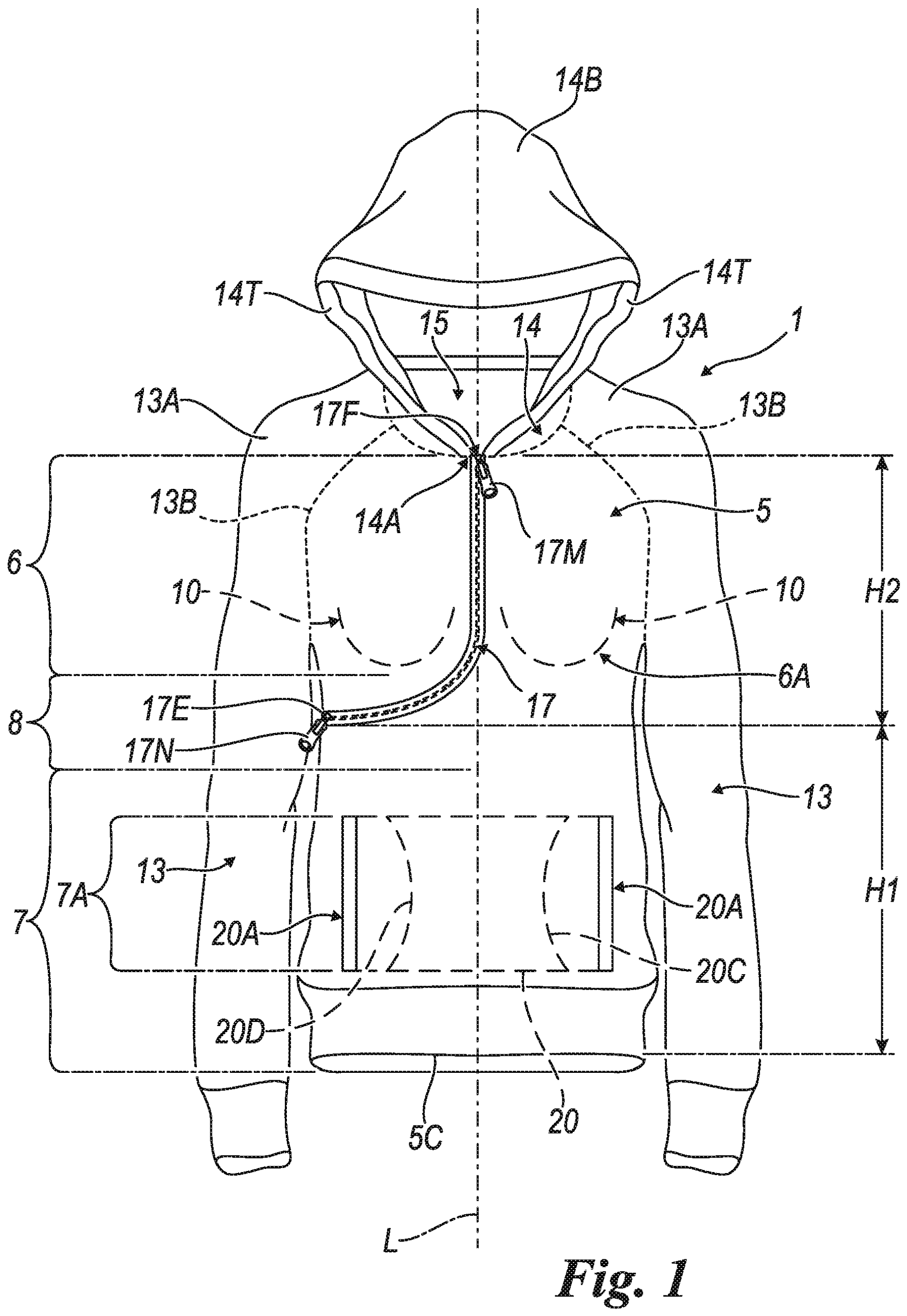
Can You Patent a Clothing Design? Copyright vs. Patents
22/02/2025

Day Labor Laws: Hiring Legally & Avoiding Risks
15/02/2025

Pre-Planning: Maximize Project Success & Efficiency
13/02/2025

Prorated Vacation: How It Works & Benefits
12/02/2025

Do I Have To Work Tomorrow? Check Your Schedule!
11/02/2025




